返回 产品详情
BECK真空开关在真空集便器(VacuumToilet)的应用
来自希而科贸易(上海) 有限公司
¥1.00
发布时间  2025-10-10 12:35:56 关注次数  1434
希而科贸易(上海) 有限公司
家家通 13年
图文介绍 产品参数 供应商信息

希而科工业控制设备(上海)有限公司
希而科贸易(上海)有限公司
联系人:顾瑾雯
电话:021-20363011
QQ:2850594263
工作手机:18964582611
E-mail:office2@silkroad24.com

 

 undefined

undefined

 

 

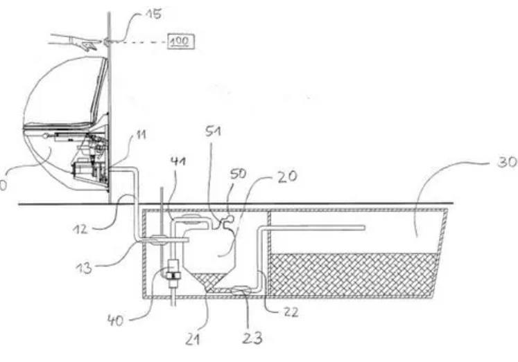
  1. 应用原理

A . 按下厕所的冲水按钮,真空发生器开始工作,集污管内开始形成真空;
B . 
水增压器开始工作,使冲水喷嘴对便池进行冲水
C . 
滑动阀门关闭,真空发生器停止工作

 

  1. 客户困扰

A . 集污管内真空度不够,集便器无法正常工作。
B . 
路况恶劣,低电流黄金触点附杂质后,真空开关烧毁。

C. 南北方气候环境相差大,国产真空开关无法正常工作。

 

  1. 解决方案

A . BECK真空开关真空压力范围-5mbar~-900mbar,真空范围广。
B . 
低电流金触点,改为高电流银触点,导电性低,真空开关烧毁问题解决。
C . BECK
真空开关温度范围–20°C bis +85°C,开关寿命超过100万次。

 

 undefined

 

 

  1. 推荐型号

压力开关 901.21 121M4

压力开关 901.21 111L4

压力开关 901.21 111M4

压力开关 901.10 121D4

配套保护帽型号:6345

配套保护帽型号:6372

 

 

  1. 典型用户

宁波中车时代电气设备有限公司

云集(福建)实业有限公司

常州剑湖金城车辆设备有限公司

无锡万里实业集团有限公司

青岛亚通达铁路设备有限公司

山东轶骋真空科技有限公司

 

  1. 潜在客户

长春欣隆铁路车辆配件有限公司

北京铁广恒通铁路机车配件修理厂

长春翔龙铁路客车配件有限公司

湖北恒鑫铁路机械配件有限公司

株洲巨发铁路机电科技开发有限公司

北京安沃科瑞铁路机电设备有限公司

株洲恒丰铁路配件有限公司

宝鸡宝厂铁路隧道机械配件有限公司

瑞泰潘得路铁路技术(武汉)有限公司

深圳市合丰铁路科技有限公司

广州森铁铁路车辆配件有限公司

 

  1. BECK公司介绍

德国Beck Sensortechnik GmbH公司是一家有50多年历史的专业从事压力开关产品研发生产和销售的厂家,压力开关采用快动式切换结构操作,该机构由隔膜控制,并通过螺旋弹簧调节。如果超过设定值,则激活,停用或切换触点。压力开关动作点可以在工厂出厂设定,也可以由用户自己调节,以使用各种压力场合。

 

BECK901系列真空被大量运用于国内各大高铁集便器,深得用户好评。

 

 

  1. 竞争对手

Honeywell / 霍尼韦尔

SUCO Robert Scheuffele GmbH&Co.KG / 苏克

Layher AG / 莱尔

 

 

 

 

 

  1. 国外客户

Evac GmbH/依瓦克

MONOGRAM/蒙诺格

 

 

  1. 零件组成

 undefined

 

  1. 压力开关: BECKSUCOHoneywellLayherhydacBD sensorwika
  2. 压力表kimogreisingerWIKAfischerTEMABriem
  3. 液位开关WEKAbaumerwattsvegaBediahydacjola
  4. 过滤器: hydacrieglerMahlempfiltriHawe
  5. 止回阀: ieglerTiefenbachsoclaFLUID-TEAMIMAVHydropaEAGestraDr.Breit
  6. 真空泵: KNFPIABBuhlerrTravainiBeckerVacconGardner DenverCOVALspeck
  7. 疏水阀BEKOZANDERGestraBEKOMATARISchubert & Salzer
  8. 潜水泵SKFbrinkmannZehnderSager + MackLOWARAKSbRENNEREBARAStubbe
  9. /气水分离器FlamcoBEKOMATKUMABEKOARO TECHNOLOGIESAbanakiReflexHAMMA
品牌beck
型号901.21121M4
开关数其他
启动方式其他
产品认证其他
加工定制
类型机械压力开关
希而科贸易(上海) 有限公司
  • 公司类型外商独资
  • 经营模式经销商-外商独资
  • 联系人顾瑾雯
  • 联系手机18964582611
  • 联系固话021-20363011
  • 公司地址上海浦东新区川沙王桥路999号1034-1035幢
主营业务
希而科,泵,阀,传感器,编码器,电机,开关,五金工具
希而科贸易(上海)有限公司是一家总部在德国,并在上海张江高科园注册的德资企业,致力于为国内客户提供优质惠价的德国及欧洲生产的各类工控自动化产品、仪器仪表、备品备件等,100%保证原装正品,保证客户满意放心。 ①我们价格在国内时具竞争力:我们通过德国总公司,完成德国境内采购,直接以更低的价格购入产品;同时我们通过在德国法兰克福的拼货仓库,拼单发货,并集中办理进口手续,可为客户节省运费和清关等费用。②我们货期更短(正常6-8周):我们通过健全的ERP系统控制物流程序,每周至少空运发货一次,为客户缩短货期。③客户可以自己需求采用不同的选择:我们以RMB或欧元价成交。④为客户提供订单网上实时查询:ERP系统做单,可以提供订单全程查询(查询网址:.)。⑤公司工程师都是本科及本科以上学历,可为客户提供选型,商务加售后服务,并指导安装调试。⑥包修包换,给客户全面保险。 尊敬的客户,只要是德国及欧洲的产品,只需您提供产品的名称、型号及规格,我们都能在德国为您买到,并送货到您手上;如果您有厂家的欧元报价,我们也可以为您在德国付外汇,并负责运输、清关等,给您一个含税的优惠价格。我公司以规范的管理,流程化的采购模式,健全
顾瑾雯 电话咨询 立即询价