商家供应
图文介绍
产品参数
供应商信息
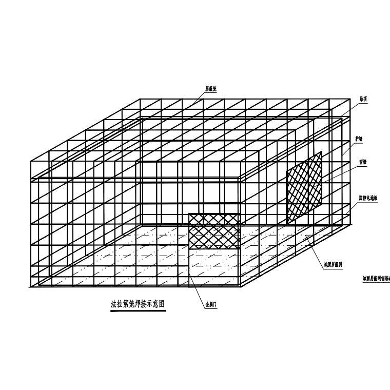
法拉第笼施工安装
(1) 在混凝土框架内应设置直径不小于12mm的钢筋为主筋(加强钢筋),主筋间用相同规格的钢筋相互焊接成不大于5m×5m的网格,并保证电气连接的连续性。主筋上端必须与避雷带焊接,下端必须就近与基础接地网焊接。
(2) 放置信号设备房间的六面(墙、地面或楼面、屋顶)在砼墙内用直径不小于8mm的钢筋焊成不大于0.6m×0.6m的网格作法拉第屏蔽笼;0.6m×0.6m的钢筋网格与5m×5m的钢筋网格结合处应焊接。
(3) 窗、(隔断)金属(防盗)门玻璃应用截面不小于9mm 铝合金网覆盖,铝合金网格不应大于80mm×80mm。
(4) 门应采用带金属屏蔽的防盗门,金属门或屏蔽笼采用栓接,栓接用电线截面不小于10mm 。
(5) 法拉第笼内所含的门、窗应与屏蔽笼钢筋连接。
(1) 在混凝土框架内应设置直径不小于12mm的钢筋为主筋(加强钢筋),主筋间用相同规格的钢筋相互焊接成不大于5m×5m的网格,并保证电气连接的连续性。主筋上端必须与避雷带焊接,下端必须就近与基础接地网焊接。
(2) 放置信号设备房间的六面(墙、地面或楼面、屋顶)在砼墙内用直径不小于8mm的钢筋焊成不大于0.6m×0.6m的网格作法拉第屏蔽笼;0.6m×0.6m的钢筋网格与5m×5m的钢筋网格结合处应焊接。
(3) 窗、(隔断)金属(防盗)门玻璃应用截面不小于9mm 铝合金网覆盖,铝合金网格不应大于80mm×80mm。
(4) 门应采用带金属屏蔽的防盗门,金属门或屏蔽笼采用栓接,栓接用电线截面不小于10mm 。
(5) 法拉第笼内所含的门、窗应与屏蔽笼钢筋连接。
(6) 防静电地板的各支架间应可靠连接,并与墙面屏蔽笼栓接,至少每个墙角处应连接,连接点间距不应大于5m,焊接(栓接)所用多股绝缘软线截面不小于10mm2 或在地面采用δ0.2mm×20mm的铜箔带铺设成与防静电地板方格。
品牌安蒂
型号JBL
类型其他
电压等级其他
保护性质其他
安装形式其他
加工定制否
外形尺寸其他
产地江苏
南京安蒂特防科技有限公司
- 公司类型私营有限责任公司
- 经营模式贸易公司-私营有限责任公司
- 联系人杨
- 联系手机17714306975
- 联系固话-
- 公司地址
主营业务
避雷针/塔、升降杆、雷电预警、防雷工程、智能防雷
南京安蒂特防科技有限公司,是一家专业从事雷电大数据采集、雷电预警、雷电防护相关研发、生产、销售、安装、与咨询为一体,并为电力、国防、交通、通信、新能源等行业提供智能雷电防护整体解决方案的高新技术企业。
公司地址位于江苏省南京市。主导产品有:避雷塔、监控塔、监控杆,雷电预警, 防雷工程 ,检测产品。行销全国各省、自治区、直辖市(台湾省除外),广泛应用于风电、移动、联通、电信、广电、铁通、水利、石油、煤碳、冶金、等部门。
公司专注于防雷减灾领域,提供优质可靠的产品与先进安全的解决方案,消除减少雷电及电磁影响。公司着重于防雷产品生产、销售、安装施工,且拥有特种防雷安装资质。
同类产品
-
信号机房屏蔽措施 法拉第笼安装 圆钢屏蔽网 ¥10000.00
-
11米13米17米35米三角圆钢避雷塔结构简单安装方便加油站油罐区防雷装置 ¥8000.00
-
GFL\GFW20米到40米石油石化罐区避雷装置危化场所避雷塔钢结构接闪器 ¥20000.00
-
古树独立接闪器厂房屋面空调水冷机组烟筒避雷针 ¥2000.00
-
接地引出装置防雷接地铜排引下线保护装置防雷工程施工 ¥760.00
-
油储雷电预警系统在线监测免接线准确率高大气电场仪 ¥25000.00
-
便携式手动升降避雷针野外临时营地车载方舱接闪器 ¥880.00
-
15米手动升降避雷针 抽拉式天线桅杆 机动式碳纤维伸缩杆 ¥1000.00
-
15.2米碳纤维升降杆 手动抽拉式天线杆 便携式避雷针杆 ¥1200.00
-
塔杆可控放电避雷针车载照明升降桅杆雷电峰值记录仪 ¥1000.00
-
手电一体车载升降桅杆8米手动升降避雷针负载100KG升降杆 ¥1000.00
-
多短针雷电放散装置车载照明升降桅杆负载100KG升降杆 ¥1000.00
-
6米车载升降天线杆直立监控升降桅杆负载800KG升降塔 ¥1000.00
-
架空输电线路避雷针车载照明升降桅杆承重200kg升降塔 ¥1000.00
-
非接闪电晕场驱雷器便携式野战避雷针承重200kg升降塔 ¥1000.00